Montgomery County Public Defender's Office

About Us

  • History

  • Mission

  • What We Do

  • Meet the Director

  • Meet our Attorneys

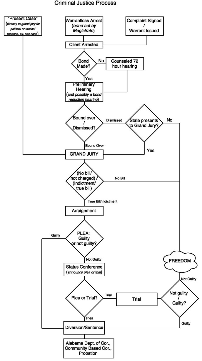
The Process

  • How It Works

  • Process Flowchart

  • Police Encounters

  • FAQs

Careers

  • Career Announcements

Contact Us

Home